空气质量的好坏反映了空气的污染程度,在各项涉及城市环境的研究中,空气质量都是一个十分重要的指标。空气质量是依据空气中污染物浓度的高低来判断的。
我们发现学者王晓磊在自己的主页里面分享了2014年5月以来的全国范围的到站点的逐时的空气质量数据,包括AQI、PM2.5、PM10、 SO2、NO2、 O3、CO等指标,且数据持续更新。
大家可以自己去王晓磊的主页下载原始数据,网址在下文。我们下载数据后发现原始数据并不好用,我们对原始数据进行了处理分享给大家!本次分享的是全国1600多个站点的2014年5月13号——2025年3月8号逐时的空气质量数据,包括15个指标数据,为了方便大家使用处理为了Shp和Excel两种格式!
大家可以在公众号回复关键词 651 按照转发要求获取该数据,以下为数据的详细介绍:
01 数据预览
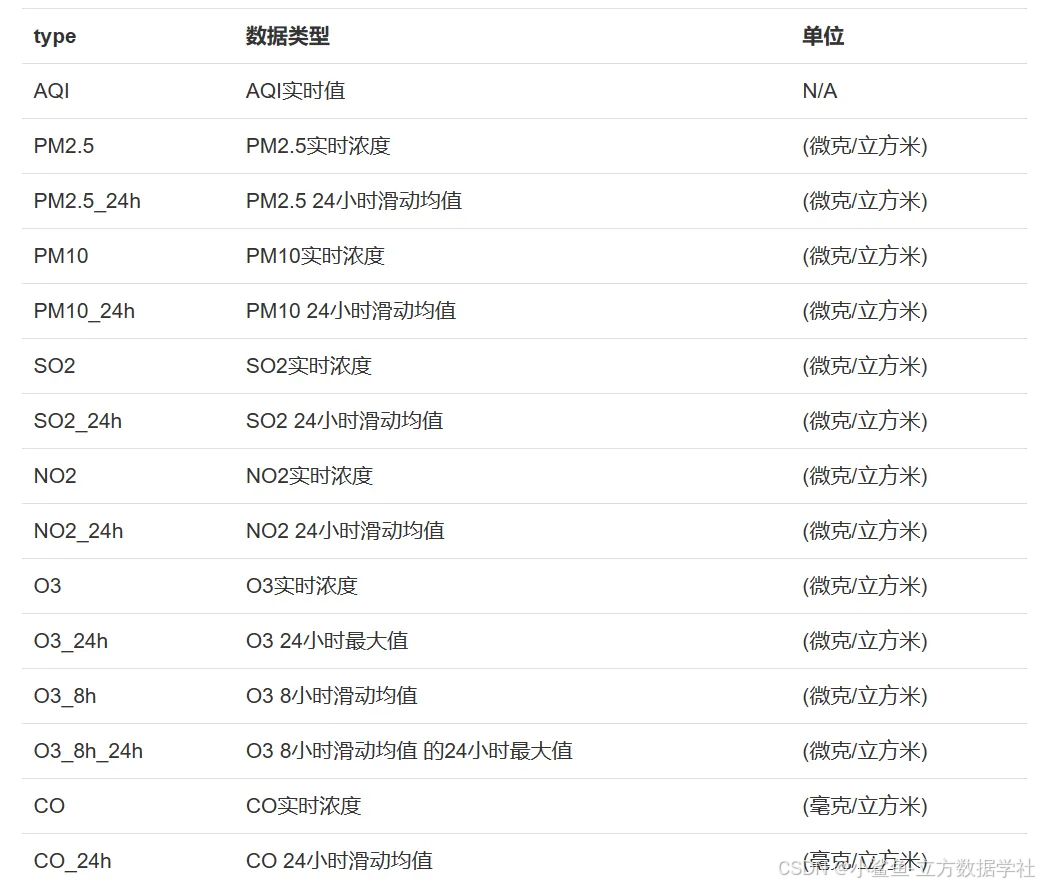
空气质量数据的15个具体指标为AQI、SO2_24h、SO2、PM10_24h、PM10、PM2.5_24h、PM2.5、O3_24h、O3_8h_24h、O3_8h、O3、NO2_24h、NO2、CO_24h、CO。

我们首先来看一下Excel格式的空气质量数据,每年的数据保存为一个Excel文件,然后每个Excel文件里面包括了如下字段:站点编号、站点名字、所属城市、站点经度、对照点、站点纬度、全年所有日期的24个时刻的空气质量数值!我们以AQI(空气质量指数)为例来预览一下:

我们再来看看shp格式的数据!Shp格式数据的具体属性和Excel数据相同。另外,由于数据是逐小时的数据,数据量非常大,而Shp格式文件对于数据条数又有限制,因此我们把每个月的逐时数据保存为一个Shp文件,我们以2025年的AOI数据为例来看下,如下图:

我们再以2025年3月8日上午8点的AQI值为例来看看具体数据:
另外还需要说一下Shp格式文件的字段命名规则,由于Shp格式文件对于字段的名称有长度限制,我们目前的命名规则为:以2025年2月12日1点为例,命名为2025021201;以2024年1月5日23点为例,命名为2024010523。
02 数据详情
数据来源:
原始数据来源于学者王晓磊个人主页上分享的数据,网址为:https://quotsoft.net/air/#archive 王晓磊在网页里面对于他分享的数据的最初来源也有说明,是来源于全国空气质量数据来自中国环境监测总站的全国城市空气质量实时发布平台。
数据处理:
1.学者王晓磊分享的原始数据按日进行划分,如下图:

2.每日的数据包括所有指标的所有站点的数据,我们以2023年1月1号的文件为例,来看看,如下图:

3.另外王晓磊提供了站点的经纬度文件,如下图:

4.我们将所有站点的逐时空气质量指标值连接上站点的经纬度,得到带有经纬度的所有站点的逐时空气质量数值,并对15个指标单独处理进行区分。
名词说明:
在学者王晓磊个人主页上对15个具体指标的数据类型和单位有如下说明:

行政区划:
数据预览中对全国监测站点逐时空气质量数据可视化的Shp文件来源于天地图官方网站提供的审图号为GS(2024)0650号的省级行政边界数据(均可查看之前的文章获悉详情)!
数据引用:
如果你使用该数据,请标明数据来自于学者王晓磊及中国环境监测总站的全国城市空气质量实时发布平台!
03 数据获取
如有数据需求,欢迎点击下方名片链接,关注我们并咨询获取~
