文章目录
- 基础信息
- 预览
- AES具体实现
- 伽罗瓦域(Galois Fields,简称 GF
- Byte Substitution Layer
- AES S-box
- Diffusion Layer
- ShiftRows Sublayer
- MixColumn Sublayer
- Key Addition Layer
- Key Schedule
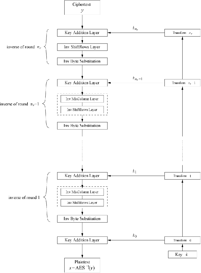
- Decryption
- Inv MixColumn layer:
- Inv ShiftRows layer
- Inv Byte Substitution layer+Decryption key schedule
- Practical issues
- **直接实现适合 8 位处理器**
- **为什么适合 8 位处理器?**
- **举例:**
- **优化的表查找方法**
- **为什么需要优化?**
- **优化方法:**
- **举例:**
- **现代 64 位处理器速度**
- **为什么速度更快?**
- **举例:**
- 安全性
- **1. 暴力破解攻击(Brute-force attack)**
- **2. 分析性攻击(Analytical attacks)**
- **3. 侧信道攻击(Side-channel attacks)**
- Attacks on the implementation
基础信息


预览

轮数和选择的key长度有关


AES具体实现


伽罗瓦域(Galois Fields,简称 GF
Byte Substitution Layer

AES S-box
输入字节的高 4 位表示行 X,低 4 位表示列 Y


Diffusion Layer

ShiftRows Sublayer

MixColumn Sublayer

Key Addition Layer

Key Schedule



Decryption


Inv MixColumn layer:

Inv ShiftRows layer

Inv Byte Substitution layer+Decryption key schedule

Practical issues

直接实现适合 8 位处理器
为什么适合 8 位处理器?
- 8 位处理器一次只能处理 8 位(1 字节) 的数据。AES 的核心算法(如 S-Box、行移位、列混合等操作)是基于矩阵的运算,在这种情况下只能逐步处理每一个字节。
- 因为 8 位处理器本身性能较低,资源也有限,使用直接实现的方法更简单、更易用。
举例:
AES 的一个数据块大小是 128 位(16 字节)。如果处理器一次只能处理 8 位(1 字节),那么它必须逐个处理每个字节。比如:
- AES 要加密一块 128 位的数据。
- 每次只能处理 8 位(1 字节),所以需要 128 ÷ 8 = 16 步。
- 每步又包含多个计算(例如字节替代、行移位、列混合等),因此整个过程可能需要上百个指令周期。
这种逐字节操作的方式虽然简单,但在 32 位或 64 位处理器 上就显得效率低了,因为它们可以一次性处理更多数据(例如 32 位处理器能同时处理 4 个字节,64 位处理器能处理 8 个字节)。
优化的表查找方法
为什么需要优化?
- 在现代的 32 位或 64 位处理器中,逐字节处理显得太慢。优化的思路是:用查找表(Lookup Table)代替复杂计算。
- 查找表是提前计算好的结果集合,直接通过索引(比如一个字节的值)找到对应的结果,而不需要实时计算。
优化方法:
-
S-Box 优化:
- S-Box 是 AES 中用来替代字节的表(每个字节都用一个特定的字节替换),可以提前生成一个包含 256 个条目的查找表。
- 每次需要替代一个字节时,直接查表即可。
-
合并运算:
- 不仅是 S-Box,AES 的其他操作(如行移位、列混合)也可以合并到一个查找表中。
- 这样每个字节的所有计算都可以通过查表一次性完成。
-
最终优化:
- 生成 4 个表,每个表包含 256 个条目,每个条目是 32 位宽。
- 每轮 AES 运算只需要查表 16 次,就能完成所有的字节处理。(16个字节,表中有该字节对应的各个操作的结果)
举例:
假设 AES 要处理一个 128 位的数据块:
- 原始方式: 逐字节处理,需要上百个指令周期(比如每个字节进行 S-Box 替代 + 行移位 + 列混合)。
- 优化方式: 每个字节只需要查表 1 次,整个数据块需要查表 16 次,大幅减少了指令数和计算时间。
这种优化方式非常适合现代处理器,因为现代处理器擅长高效的表查找操作。
现代 64 位处理器速度
为什么速度更快?
现代 64 位处理器可以并行处理多个数据:
- 查找表可以放在处理器的缓存中,查表的速度非常快。
- 64 位处理器可以同时处理 8 个字节的数据,因此计算的并行度大幅提升。
举例:
- 假设 AES 要加密一个文件:
- 文件大小为 2 GB(约 16 亿位)。
- 在优化后的实现中,AES 的处理速度是 1.6 Gbit/s。
- 处理 2 GB 的文件只需要 2 × 8 ÷ 1.6 = 10 秒。
优化后的表查找方法使得 AES 加密在现代硬件上变得非常快。
安全性
1. 暴力破解攻击(Brute-force attack)
翻译:
由于 AES 的密钥长度为 128 位、192 位或 256 位,暴力破解攻击是不可能实现的。
解释:
-
什么是暴力破解?
暴力破解指的是尝试所有可能的密钥组合,直到找到正确密钥。对于 AES,加密的安全性取决于密钥长度。 -
为什么不可行?
- AES 使用的密钥长度非常大:
- 128 位密钥:可能的密钥总数是 (2^{128}),大约 (3.4 \times 10^{38})。
- 192 位密钥:可能的密钥总数是 (2^{192}),大约 (6.3 \times 10^{57})。
- 256 位密钥:可能的密钥总数是 (2^{256}),大约 (1.1 \times 10^{77})。
- 即使使用当前最快的超级计算机,穷举这些密钥所需的时间也远远超过了宇宙的寿命,因此暴力破解是不可能的。
- AES 使用的密钥长度非常大:
2. 分析性攻击(Analytical attacks)
翻译:
目前没有已知的分析性攻击比暴力破解更有效。
解释:
-
什么是分析性攻击?
分析性攻击指的是通过数学或算法的弱点直接破解加密,而不需要尝试所有密钥。例如,攻击者可能试图找到 AES 算法中的漏洞,缩短破解时间。 -
AES 的情况:
- AES 是经过严格数学验证的,设计上没有已知的弱点。
- 目前,所有针对 AES 的已知攻击都需要的计算量与暴力破解相当,甚至更高。
- 因此,AES 在设计上仍然是安全的,没有已知的分析性攻击能击败它。
3. 侧信道攻击(Side-channel attacks)
翻译:
- 已经有多种侧信道攻击被公开。
- 需要注意的是,侧信道攻击并不是针对算法本身的,而是针对算法的具体实现。
解释:
-
什么是侧信道攻击?
侧信道攻击不直接破解加密算法,而是利用加密操作过程中泄漏的物理信息(如时间、功耗、电磁辐射)来推断密钥或加密数据。 -
示例:
- 时间攻击(Timing attack):
通过测量加密操作的执行时间,推测密钥的某些部分。 - 功耗攻击(Power analysis):
通过观察加密过程中设备的功耗波动,分析内部的操作细节。 - 电磁辐射攻击(Electromagnetic attack):
通过分析设备在加密时产生的电磁信号,提取关键信息。
- 时间攻击(Timing attack):
-
为什么不影响算法本身?
侧信道攻击并不是针对 AES 算法本身的弱点,而是利用了设备实现中的漏洞。
例如:- 如果加密操作的某些步骤在时间上存在不一致,攻击者可以利用这些时间差来推断密钥。
- 如果硬件设计不合理,可能会泄漏更多的电磁信息,使攻击者更容易获取加密信息。
Attacks on the implementation

