欢迎来到尧图网

客户服务 关于我们

您的位置:首页 > 教育 > 培训 > 09-GBase 8s 事务型数据库 备份与恢复(onbar)

09-GBase 8s 事务型数据库 备份与恢复(onbar)

2025/10/22 23:58:10 来源:https://blog.csdn.net/niechel/article/details/147793646  浏览:    关键词:09-GBase 8s 事务型数据库 备份与恢复(onbar)

基于ON-Bar的备份与恢复实验

ON-Bar体系架构

ON-Bar 由各种组件组成,它需要与存储管理器一起使用,来备份和恢复数据。

ON-Bar组件:

sysutils 数据库,其中包含ON-Bar目录表

onbar 和 onbar_d 命令行实用程序

系统上存储管理器的 XBSA 共享库

用于存储备份的存储介质

ON-Bar活动日志

ON-Bar紧急引导文件

GBase 8s 的ON-Bar支持第三方的存储管理器,进行数据库的备份与恢复。GBase 8s也内置了一个存储管理器PSM(Primary Storage Manager)。

对于备份会话,ON-Bar 从数据库服务器请求存储空间和逻辑日志的内容,并将它们传递到存储管理器。存储管理器将数据存储在存储介质上。

对于恢复会话,ON-Bar 从存储管理器请求已备份的数据,然后在数据库服务器上恢复该数据。
 

环境准备

配置存储管理器OSM的共享库

ON-Bar 和存储管理器通过“备份服务应用程序编程接口 (XBSA)”通信,该接口支持将存储管理器作为数据库服务器的备份介质。

通过使用存储管理器的开放式系统接口,ON-Bar 可以与各种同样使用 XBSA 的存储管理器一起协同工作。

GBase 8s 内置了一个存储管理器PSM,该存储管理器的接口库位置为/opt/gbase/lib/libbsapsm.so

[gbasedbt@devsvr ~]$ cd /opt/gbase/lib
[gbasedbt@devsvr lib]$ pwd
/opt/gbase/lib
[gbasedbt@devsvr lib]$ ll
total 38572
-rwxr-xr-x. 1 gbasedbt gbasedbt     8846 Mar 23 18:02 iosm11a.so
-rwxr-xr-x. 1 gbasedbt gbasedbt   326676 Mar 23 17:46 libAPI.jar
-rwxr-xr-x. 1 gbasedbt gbasedbt   174756 Mar 23 18:02 libastool.so
-rwxr-xr-x. 1 gbasedbt gbasedbt    14130 Mar 23 18:14 libbsanull.so
-r-xr-xr-x. 1 gbasedbt gbasedbt  1920732 Mar 23 18:14 libbsapsm.so
-rwxr-xr-x. 1 gbasedbt gbasedbt 11644279 Mar 23 18:13 libdwa.udr
-rwxr-xr-x. 1 gbasedbt gbasedbt    74921 Mar 23 17:46 libencrypt_f.so
-rwxr-xr-x. 1 gbasedbt gbasedbt   283227 Mar 23 18:02 libmisc.udr
-rwxr-xr-x. 1 gbasedbt gbasedbt   239980 Mar 23 17:46 libnativeAPI.so
-rwxr-xr-x. 1 gbasedbt gbasedbt   403608 Mar 23 18:02 liboracle.udr
-r-xr-xr-x. 1 gbasedbt gbasedbt    59340 Mar 23 18:20 libtxbsa.so
-rwxr-xr-x. 1 gbasedbt gbasedbt 24322266 Mar 23 18:04 libxml.udr
[gbasedbt@devsvr lib]$ 

保用ON-Bar时,需要做一些简单的配置,配置参数如下:

[gbasedbt@devsvr ~]$ onstat -c | grep BAR_BSALIB_PATH
Your evaluation license will expire on 2022-07-30 00:00:00
# BAR_BSALIB_PATH     - The shared library for ON-Bar and the 
BAR_BSALIB_PATH
[gbasedbt@devsvr ~]$ onmode -wf BAR_BSALIB_PATH=/opt/gbase/lib/libbsapsm.so
Your evaluation license will expire on 2022-07-30 00:00:00
Value of BAR_BSALIB_PATH has been changed to /opt/gbase/lib/libbsapsm.so.
[gbasedbt@devsvr ~]$ onstat -c | grep BAR_BSALIB_PATH
Your evaluation license will expire on 2022-07-30 00:00:00
# BAR_BSALIB_PATH     - The shared library for ON-Bar and the 
BAR_BSALIB_PATH /opt/gbase/lib/libbsapsm.so 
[gbasedbt@devsvr ~]$ 
[gbasedbt@devsvr ~]$ onmode -wf LTAPEDEV=/opt/gbase/backups
Your evaluation license will expire on 2022-07-30 00:00:00
Value of LTAPEDEV has been changed to /opt/gbase/logpool.
[gbasedbt@devsvr ~]$ onstat -c | grep LTAPEDEV
Your evaluation license will expire on 2022-07-30 00:00:00
# LTAPEDEV     - The tape device path for logical logs
LTAPEDEV        /opt/gbase/backups 
[gbasedbt@devsvr ~]$ 

说明:LTAPEDEV是ontape中的一个参数,在使用onbar时,该参数不能为/dev/null。我们可以临时为参数设置一个目录,实际备份时,逻辑日志并不保存在该目录中。

PSM配置

初始化Catalog
[gbasedbt@devsvr ~]$ ll /opt/gbase/etc/psm
ls: cannot access /opt/gbase/etc/psm: No such file or directory
[gbasedbt@devsvr ~]$ onpsm -C initThe __PSM__ catalog is not present in the '/opt/gbase/etc/psm/' directory. 
The system will try to create it.__PSM__ catalog creation in the '/opt/gbase/etc/psm/' directory succeeded.
This option deletes the __PSM__ catalogs.
Are you sure you want to delete these items? (y/n) n
[gbasedbt@devsvr ~]$ ll /opt/gbase/etc/psm
total 60
-rw-rw-r--. 1 gbasedbt gbasedbt 1024 Jul 30 10:14 device.dat
-rw-rw-r--. 1 gbasedbt gbasedbt 5120 Jul 30 10:14 device.idx
-rw-rw-r--. 1 gbasedbt gbasedbt 1024 Jul 30 10:14 lock.dat
-rw-rw-r--. 1 gbasedbt gbasedbt 2048 Jul 30 10:14 lock.idx
-rw-rw-r--. 1 gbasedbt gbasedbt    0 Jul 30 10:14 object.dat
-rw-rw-r--. 1 gbasedbt gbasedbt    0 Jul 30 10:14 object_detail.dat
-rw-rw-r--. 1 gbasedbt gbasedbt 3072 Jul 30 10:14 object_detail.idx
-rw-rw-r--. 1 gbasedbt gbasedbt 4096 Jul 30 10:14 object.idx
-rw-rw-r--. 1 gbasedbt gbasedbt    0 Jul 30 10:14 pool.dat
-rw-rw-r--. 1 gbasedbt gbasedbt 4096 Jul 30 10:14 pool.idx
-rw-rw-r--. 1 gbasedbt gbasedbt 1024 Jul 30 10:14 serial.dat
-rw-rw-r--. 1 gbasedbt gbasedbt 2048 Jul 30 10:14 serial.idx
-rw-rw-r--. 1 gbasedbt gbasedbt 1024 Jul 30 10:14 session.dat
-rw-rw-r--. 1 gbasedbt gbasedbt 3072 Jul 30 10:14 session.idx
-rw-rw-r--. 1 gbasedbt gbasedbt 1024 Jul 30 10:14 volume.dat
-rw-rw-r--. 1 gbasedbt gbasedbt 5120 Jul 30 10:14 volume.idx
[gbasedbt@devsvr ~]$ 
查看PSM设备情况
[gbasedbt@devsvr ~]$ onpsm -D list__PSM__ Device ListType   Prio     Block/Size (MB)  Pool Name     Device Name
FILE   LOW          --/--        DBSPOOL       /opt/gbase/backupsFILE   LOW          --/--        LOGPOOL       /opt/gbase/backups[gbasedbt@devsvr ~]$ 
配置PSM设备

我们不使用默认的PSM设备,使用下面的方法,添加一个自己的设备,并将原来的设备删除。

[gbasedbt@devsvr ~]$ mkdir -p /opt/gbase/dbspool
[gbasedbt@devsvr ~]$ mkdir -p /opt/gbase/logpool
[gbasedbt@devsvr ~]$ onpsm -D add /opt/gbase/dbspool -g DBSPOOL -p HIGHEST -t FILE
[gbasedbt@devsvr ~]$ onpsm -D add /opt/gbase/logpool -g LOGPOOL -p HIGHEST -t FILE
[gbasedbt@devsvr ~]$ onpsm -D del /opt/gbase/backups -d
Delete the device from ALL pools and DELETE ALL backup objects stored in 
FILE devices? (y/n) y
[gbasedbt@devsvr ~]$ onpsm -D list__PSM__ Device ListType   Prio     Block/Size (MB)  Pool Name     Device Name
FILE   HIGHEST      --/--        DBSPOOL       /opt/gbase/dbspoolFILE   HIGHEST      --/--        LOGPOOL       /opt/gbase/logpool[gbasedbt@devsvr ~]$ ll /opt/gbase/dbspool
total 0
[gbasedbt@devsvr ~]$ ll /opt/gbase/logpool
total 0
[gbasedbt@devsvr ~]$

实验说明

业务场景说明:

数据空间文件被删除时的数据完全恢复

表删除后基于时间点的不完全恢复

备份与恢复演示

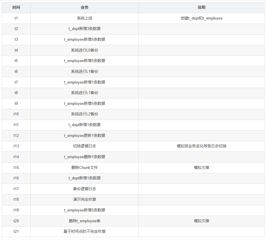
创建数据库和表(t1)

[gbasedbt@devsvr ~]$ dbaccess - -
Your evaluation license will expire on 2022-07-30 00:00:00
create database mydb in datadbs1 with log;
create table t_dept(f_deptid int, f_deptname varchar(20));Database created.> 
Table created.> create table t_employee(f_employeeid int, f_deptid int, f_employeename varchar(20));Table created.> info tables;Table namet_dept             t_employee         > 

t_dept新增3条数据(t2)

> select * from t_dept;f_deptid f_deptname           1 dept_1              2 dept_2              3 dept_3              3 row(s) retrieved.> !date +'%F %T'
2021-07-30 16:23:56
> 

t_employee新增5条数据(t3)

> select * from t_employee;f_employeeid    f_deptid f_employeename       1           1 employee_01         2           1 employee_02         3           2 employee_03         4           2 employee_04         5           3 employee_05         5 row(s) retrieved.> !date +'%F %T'
2021-07-30 16:25:04
> 

系统进行L0备份(t4)

查看当前的日志,文件编号为11,唯一编号为14

[gbasedbt@devsvr ~]$ onstat -l
Your evaluation license will expire on 2022-07-30 00:00:00
On-Line -- Up 01:49:56 -- 597864 KbytesPhysical Logging
Buffer bufused  bufsize  numpages   numwrits   pages/ioP-1  0        1024     1437       35         41.06phybegin         physize    phypos     phyused    %used   3:53             49700      1658       0          0.00    Logical Logging
Buffer bufused  bufsize  numrecs    numpages   numwrits   recs/pages pages/ioL-1  0        512      81371      6212       279        13.1       22.3    Subsystem    numrecs    Log Space usedOLDRSAM      81228      12075268      HA           38         1672          DDL          105        36540         address          number   flags    uniqid   begin                size     used    %used
4713df88         4        U-B----  7        2:53                 5000     4023    80.46
48309970         5        U-B----  8        2:5053               5000       29     0.58
483099d8         6        U-B----  9        2:10053              5000       34     0.68
48309a40         7        U-B----  10       2:15053              5000       27     0.54
48309aa8         8        U-B----  11       2:20053              5000       41     0.82
48309b10         9        U-B----  12       2:25053              5000       30     0.60
48309b78         10       U-B----  13       2:30053              5000       36     0.72
48309be0         11       U---C-L  14       2:35053              5000     2005    40.10
48309c48         12       A------  0        2:40053              5000        0     0.00
48309cb0         13       A------  0        2:45053              5000        0     0.0010 active, 10 total[gbasedbt@devsvr ~]$ 

查看实例的服务器编号为165

[gbasedbt@devsvr ~]$ onstat -c | grep SERVERNUM
Your evaluation license will expire on 2022-07-30 00:00:00
# SERVERNUM       - The unique ID for the GBase instance. Acceptable 
SERVERNUM 165 
[gbasedbt@devsvr ~]$ 

执行L0备份。

[gbasedbt@devsvr ~]$ onbar -b -L 0
Your evaluation license will expire on 2022-07-30 00:00:00
[gbasedbt@devsvr ~]$ onpsm -O list__PSM__ Object ListObject ID            Date Created         Size (MB) Logical path (name.version)
1                    2021-07-30 16:26:30       15.9 /gbaseserver/rootdbs/0/gbaseserver.1
2                    2021-07-30 16:26:31       18.1 /gbaseserver/datadbs1/0/gbaseserver.1
3                    2021-07-30 16:26:32        0.1 /gbaseserver/plogdbs/0/gbaseserver.1
4                    2021-07-30 16:26:32        0.1 /gbaseserver/datadbs5/0/gbaseserver.1
5                    2021-07-30 16:26:32        0.1 /gbaseserver/datadbs3/0/gbaseserver.1
6                    2021-07-30 16:26:32        0.1 /gbaseserver/datadbs2/0/gbaseserver.1
7                    2021-07-30 16:26:32        0.1 /gbaseserver/sbspace1/0/gbaseserver.1
8                    2021-07-30 16:26:33        0.1 /gbaseserver/llogdbs/0/gbaseserver.1
9                    2021-07-30 16:26:33        0.1 /gbaseserver/datadbs4/0/gbaseserver.1
10                   2021-07-30 16:26:33        4.0 /gbaseserver/165/14/gbaseserver.1
11                   2021-07-30 16:26:34        0.0 /gbaseserver/critical_files/ixbar/gbaseserver.1
12                   2021-07-30 16:26:34        0.0 /gbaseserver/critical_files/oncfg/gbaseserver.1
13                   2021-07-30 16:26:34        0.1 /gbaseserver/critical_files/onconfig/gbaseserver.1
14                   2021-07-30 16:26:34        0.0 /gbaseserver/critical_files/sqlhosts/gbaseserver.1
[gbasedbt@devsvr ~]$ 

L0备份了rootdbs,plogdbs,llogdbs,datadbs,ixbar,oncfg,onconfig,sqlhosts。另外还有一个目录/gbaseserver/165/10/gbaseserver.1,其中的165为实例的服务器编号,14为当前逻辑日志的唯一编号(uniqid)。

t_employee新增5条数据(t5)

> select * from t_employee;f_employeeid    f_deptid f_employeename       1           1 employee_01         2           1 employee_02         3           2 employee_03         4           2 employee_04         5           3 employee_05         11           1 employee_11         12           1 employee_12         13           2 employee_13         14           2 employee_14         15           3 employee_15         10 row(s) retrieved.> !date +'%F %T'
2021-07-30 16:28:01
> 

系统进行L1备份(t6)

[gbasedbt@devsvr ~]$ onbar -b -L 1
Your evaluation license will expire on 2022-07-30 00:00:00
[gbasedbt@devsvr ~]$ onpsm -O list__PSM__ Object ListObject ID            Date Created         Size (MB) Logical path (name.version)
1                    2021-07-30 16:26:30       15.9 /gbaseserver/rootdbs/0/gbaseserver.1
2                    2021-07-30 16:26:31       18.1 /gbaseserver/datadbs1/0/gbaseserver.1
3                    2021-07-30 16:26:32        0.1 /gbaseserver/plogdbs/0/gbaseserver.1
4                    2021-07-30 16:26:32        0.1 /gbaseserver/datadbs5/0/gbaseserver.1
5                    2021-07-30 16:26:32        0.1 /gbaseserver/datadbs3/0/gbaseserver.1
6                    2021-07-30 16:26:32        0.1 /gbaseserver/datadbs2/0/gbaseserver.1
7                    2021-07-30 16:26:32        0.1 /gbaseserver/sbspace1/0/gbaseserver.1
8                    2021-07-30 16:26:33        0.1 /gbaseserver/llogdbs/0/gbaseserver.1
9                    2021-07-30 16:26:33        0.1 /gbaseserver/datadbs4/0/gbaseserver.1
10                   2021-07-30 16:26:33        4.0 /gbaseserver/165/14/gbaseserver.1
11                   2021-07-30 16:26:34        0.0 /gbaseserver/critical_files/ixbar/gbaseserver.1
12                   2021-07-30 16:26:34        0.0 /gbaseserver/critical_files/oncfg/gbaseserver.1
13                   2021-07-30 16:26:34        0.1 /gbaseserver/critical_files/onconfig/gbaseserver.1
14                   2021-07-30 16:26:34        0.0 /gbaseserver/critical_files/sqlhosts/gbaseserver.1
15                   2021-07-30 16:28:44        0.1 /gbaseserver/rootdbs/1/gbaseserver.1
16                   2021-07-30 16:28:45        0.1 /gbaseserver/datadbs1/1/gbaseserver.1
17                   2021-07-30 16:28:45        0.1 /gbaseserver/datadbs3/1/gbaseserver.1
18                   2021-07-30 16:28:45        0.1 /gbaseserver/datadbs4/1/gbaseserver.1
19                   2021-07-30 16:28:46        0.1 /gbaseserver/sbspace1/1/gbaseserver.1
20                   2021-07-30 16:28:46        0.1 /gbaseserver/llogdbs/1/gbaseserver.1
21                   2021-07-30 16:28:46        0.1 /gbaseserver/datadbs2/1/gbaseserver.1
22                   2021-07-30 16:28:46        0.1 /gbaseserver/datadbs5/1/gbaseserver.1
23                   2021-07-30 16:28:46        0.1 /gbaseserver/plogdbs/1/gbaseserver.1
24                   2021-07-30 16:28:48        0.1 /gbaseserver/165/15/gbaseserver.1
25                   2021-07-30 16:28:48        0.0 /gbaseserver/critical_files/ixbar/gbaseserver.2
26                   2021-07-30 16:28:48        0.0 /gbaseserver/critical_files/oncfg/gbaseserver.2
27                   2021-07-30 16:28:48        0.1 /gbaseserver/critical_files/onconfig/gbaseserver.2
28                   2021-07-30 16:28:48        0.0 /gbaseserver/critical_files/sqlhosts/gbaseserver.2
[gbasedbt@devsvr ~]$ 

进行L1备份后,备份文件数量由14个变为28个。

t_employee新增1条数据(t7)

> insert into t_employee values(16, 3, 'employee_16');1 row(s) inserted.> select * from t_employee;f_employeeid    f_deptid f_employeename       1           1 employee_01         2           1 employee_02         3           2 employee_03         4           2 employee_04         5           3 employee_05         11           1 employee_11         12           1 employee_12         13           2 employee_13         14           2 employee_14         15           3 employee_15         16           3 employee_16         11 row(s) retrieved.> !date +'%F %T'
2021-07-30 16:29:43
> 

系统进行L1备份(t8)

[gbasedbt@devsvr ~]$ onbar -b -L 1
Your evaluation license will expire on 2022-07-30 00:00:00
[gbasedbt@devsvr ~]$ onpsm -O list__PSM__ Object ListObject ID            Date Created         Size (MB) Logical path (name.version)
1                    2021-07-30 16:26:30       15.9 /gbaseserver/rootdbs/0/gbaseserver.1
2                    2021-07-30 16:26:31       18.1 /gbaseserver/datadbs1/0/gbaseserver.1
3                    2021-07-30 16:26:32        0.1 /gbaseserver/plogdbs/0/gbaseserver.1
4                    2021-07-30 16:26:32        0.1 /gbaseserver/datadbs5/0/gbaseserver.1
5                    2021-07-30 16:26:32        0.1 /gbaseserver/datadbs3/0/gbaseserver.1
6                    2021-07-30 16:26:32        0.1 /gbaseserver/datadbs2/0/gbaseserver.1
7                    2021-07-30 16:26:32        0.1 /gbaseserver/sbspace1/0/gbaseserver.1
8                    2021-07-30 16:26:33        0.1 /gbaseserver/llogdbs/0/gbaseserver.1
9                    2021-07-30 16:26:33        0.1 /gbaseserver/datadbs4/0/gbaseserver.1
10                   2021-07-30 16:26:33        4.0 /gbaseserver/165/14/gbaseserver.1
11                   2021-07-30 16:26:34        0.0 /gbaseserver/critical_files/ixbar/gbaseserver.1
12                   2021-07-30 16:26:34        0.0 /gbaseserver/critical_files/oncfg/gbaseserver.1
13                   2021-07-30 16:26:34        0.1 /gbaseserver/critical_files/onconfig/gbaseserver.1
14                   2021-07-30 16:26:34        0.0 /gbaseserver/critical_files/sqlhosts/gbaseserver.1
15                   2021-07-30 16:28:44        0.1 /gbaseserver/rootdbs/1/gbaseserver.1
16                   2021-07-30 16:28:45        0.1 /gbaseserver/datadbs1/1/gbaseserver.1
17                   2021-07-30 16:28:45        0.1 /gbaseserver/datadbs3/1/gbaseserver.1
18                   2021-07-30 16:28:45        0.1 /gbaseserver/datadbs4/1/gbaseserver.1
19                   2021-07-30 16:28:46        0.1 /gbaseserver/sbspace1/1/gbaseserver.1
20                   2021-07-30 16:28:46        0.1 /gbaseserver/llogdbs/1/gbaseserver.1
21                   2021-07-30 16:28:46        0.1 /gbaseserver/datadbs2/1/gbaseserver.1
22                   2021-07-30 16:28:46        0.1 /gbaseserver/datadbs5/1/gbaseserver.1
23                   2021-07-30 16:28:46        0.1 /gbaseserver/plogdbs/1/gbaseserver.1
24                   2021-07-30 16:28:48        0.1 /gbaseserver/165/15/gbaseserver.1
25                   2021-07-30 16:28:48        0.0 /gbaseserver/critical_files/ixbar/gbaseserver.2
26                   2021-07-30 16:28:48        0.0 /gbaseserver/critical_files/oncfg/gbaseserver.2
27                   2021-07-30 16:28:48        0.1 /gbaseserver/critical_files/onconfig/gbaseserver.2
28                   2021-07-30 16:28:48        0.0 /gbaseserver/critical_files/sqlhosts/gbaseserver.2
29                   2021-07-30 16:30:17        0.1 /gbaseserver/rootdbs/1/gbaseserver.2
30                   2021-07-30 16:30:18        0.1 /gbaseserver/sbspace1/1/gbaseserver.2
31                   2021-07-30 16:30:19        0.1 /gbaseserver/datadbs2/1/gbaseserver.2
32                   2021-07-30 16:30:19        0.1 /gbaseserver/datadbs4/1/gbaseserver.2
33                   2021-07-30 16:30:19        0.1 /gbaseserver/plogdbs/1/gbaseserver.2
34                   2021-07-30 16:30:19        0.1 /gbaseserver/datadbs3/1/gbaseserver.2
35                   2021-07-30 16:30:19        0.1 /gbaseserver/datadbs5/1/gbaseserver.2
36                   2021-07-30 16:30:19        0.1 /gbaseserver/datadbs1/1/gbaseserver.2
37                   2021-07-30 16:30:20        0.1 /gbaseserver/llogdbs/1/gbaseserver.2
38                   2021-07-30 16:30:21        0.1 /gbaseserver/165/16/gbaseserver.1
39                   2021-07-30 16:30:21        0.0 /gbaseserver/critical_files/ixbar/gbaseserver.3
40                   2021-07-30 16:30:21        0.0 /gbaseserver/critical_files/oncfg/gbaseserver.3
41                   2021-07-30 16:30:21        0.1 /gbaseserver/critical_files/onconfig/gbaseserver.3
42                   2021-07-30 16:30:21        0.0 /gbaseserver/critical_files/sqlhosts/gbaseserver.3
[gbasedbt@devsvr ~]$ 

系统进行L1备份(t8)

[gbasedbt@devsvr ~]$ onbar -b -L 1
Your evaluation license will expire on 2022-07-30 00:00:00
[gbasedbt@devsvr ~]$ onpsm -O list__PSM__ Object ListObject ID            Date Created         Size (MB) Logical path (name.version)
1                    2021-07-30 16:26:30       15.9 /gbaseserver/rootdbs/0/gbaseserver.1
2                    2021-07-30 16:26:31       18.1 /gbaseserver/datadbs1/0/gbaseserver.1
3                    2021-07-30 16:26:32        0.1 /gbaseserver/plogdbs/0/gbaseserver.1
4                    2021-07-30 16:26:32        0.1 /gbaseserver/datadbs5/0/gbaseserver.1
5                    2021-07-30 16:26:32        0.1 /gbaseserver/datadbs3/0/gbaseserver.1
6                    2021-07-30 16:26:32        0.1 /gbaseserver/datadbs2/0/gbaseserver.1
7                    2021-07-30 16:26:32        0.1 /gbaseserver/sbspace1/0/gbaseserver.1
8                    2021-07-30 16:26:33        0.1 /gbaseserver/llogdbs/0/gbaseserver.1
9                    2021-07-30 16:26:33        0.1 /gbaseserver/datadbs4/0/gbaseserver.1
10                   2021-07-30 16:26:33        4.0 /gbaseserver/165/14/gbaseserver.1
11                   2021-07-30 16:26:34        0.0 /gbaseserver/critical_files/ixbar/gbaseserver.1
12                   2021-07-30 16:26:34        0.0 /gbaseserver/critical_files/oncfg/gbaseserver.1
13                   2021-07-30 16:26:34        0.1 /gbaseserver/critical_files/onconfig/gbaseserver.1
14                   2021-07-30 16:26:34        0.0 /gbaseserver/critical_files/sqlhosts/gbaseserver.1
15                   2021-07-30 16:28:44        0.1 /gbaseserver/rootdbs/1/gbaseserver.1
16                   2021-07-30 16:28:45        0.1 /gbaseserver/datadbs1/1/gbaseserver.1
17                   2021-07-30 16:28:45        0.1 /gbaseserver/datadbs3/1/gbaseserver.1
18                   2021-07-30 16:28:45        0.1 /gbaseserver/datadbs4/1/gbaseserver.1
19                   2021-07-30 16:28:46        0.1 /gbaseserver/sbspace1/1/gbaseserver.1
20                   2021-07-30 16:28:46        0.1 /gbaseserver/llogdbs/1/gbaseserver.1
21                   2021-07-30 16:28:46        0.1 /gbaseserver/datadbs2/1/gbaseserver.1
22                   2021-07-30 16:28:46        0.1 /gbaseserver/datadbs5/1/gbaseserver.1
23                   2021-07-30 16:28:46        0.1 /gbaseserver/plogdbs/1/gbaseserver.1
24                   2021-07-30 16:28:48        0.1 /gbaseserver/165/15/gbaseserver.1
25                   2021-07-30 16:28:48        0.0 /gbaseserver/critical_files/ixbar/gbaseserver.2
26                   2021-07-30 16:28:48        0.0 /gbaseserver/critical_files/oncfg/gbaseserver.2
27                   2021-07-30 16:28:48        0.1 /gbaseserver/critical_files/onconfig/gbaseserver.2
28                   2021-07-30 16:28:48        0.0 /gbaseserver/critical_files/sqlhosts/gbaseserver.2
29                   2021-07-30 16:30:17        0.1 /gbaseserver/rootdbs/1/gbaseserver.2
30                   2021-07-30 16:30:18        0.1 /gbaseserver/sbspace1/1/gbaseserver.2
31                   2021-07-30 16:30:19        0.1 /gbaseserver/datadbs2/1/gbaseserver.2
32                   2021-07-30 16:30:19        0.1 /gbaseserver/datadbs4/1/gbaseserver.2
33                   2021-07-30 16:30:19        0.1 /gbaseserver/plogdbs/1/gbaseserver.2
34                   2021-07-30 16:30:19        0.1 /gbaseserver/datadbs3/1/gbaseserver.2
35                   2021-07-30 16:30:19        0.1 /gbaseserver/datadbs5/1/gbaseserver.2
36                   2021-07-30 16:30:19        0.1 /gbaseserver/datadbs1/1/gbaseserver.2
37                   2021-07-30 16:30:20        0.1 /gbaseserver/llogdbs/1/gbaseserver.2
38                   2021-07-30 16:30:21        0.1 /gbaseserver/165/16/gbaseserver.1
39                   2021-07-30 16:30:21        0.0 /gbaseserver/critical_files/ixbar/gbaseserver.3
40                   2021-07-30 16:30:21        0.0 /gbaseserver/critical_files/oncfg/gbaseserver.3
41                   2021-07-30 16:30:21        0.1 /gbaseserver/critical_files/onconfig/gbaseserver.3
42                   2021-07-30 16:30:21        0.0 /gbaseserver/critical_files/sqlhosts/gbaseserver.3
[gbasedbt@devsvr ~]$ 

进行两次L1备份后,备份文件变为42个。通过观察,ON-Bar备份时,PSM是通过组织文件系统的目录来管理备份文件的。PSM为L0,L1,L2创建3个目录,分别为0,1,2。每个备份文件名称为<instance_name>.<seq_num>。
逻辑日志的备份,是按逻辑日志的唯一编号,创建对应的目录进行存储。

t_employee新增5条数据(t9)

> select * from t_employee;f_employeeid    f_deptid f_employeename       1           1 employee_01         2           1 employee_02         3           2 employee_03         4           2 employee_04         5           3 employee_05         11           1 employee_11         12           1 employee_12         13           2 employee_13         14           2 employee_14         15           3 employee_15         16           3 employee_16         21           1 employee_21         22           1 employee_22         23           2 employee_23         24           2 employee_24         25           3 employee_25         16 row(s) retrieved.> !date +'%F %T'
2021-07-30 16:31:30
> 

系统进行L2备份(t10)

[gbasedbt@devsvr ~]$ onbar -b -L 2
Your evaluation license will expire on 2022-07-30 00:00:00
[gbasedbt@devsvr ~]$ onpsm -O list__PSM__ Object ListObject ID            Date Created         Size (MB) Logical path (name.version)
1                    2021-07-30 16:26:30       15.9 /gbaseserver/rootdbs/0/gbaseserver.1
2                    2021-07-30 16:26:31       18.1 /gbaseserver/datadbs1/0/gbaseserver.1
3                    2021-07-30 16:26:32        0.1 /gbaseserver/plogdbs/0/gbaseserver.1
4                    2021-07-30 16:26:32        0.1 /gbaseserver/datadbs5/0/gbaseserver.1
5                    2021-07-30 16:26:32        0.1 /gbaseserver/datadbs3/0/gbaseserver.1
6                    2021-07-30 16:26:32        0.1 /gbaseserver/datadbs2/0/gbaseserver.1
7                    2021-07-30 16:26:32        0.1 /gbaseserver/sbspace1/0/gbaseserver.1
8                    2021-07-30 16:26:33        0.1 /gbaseserver/llogdbs/0/gbaseserver.1
9                    2021-07-30 16:26:33        0.1 /gbaseserver/datadbs4/0/gbaseserver.1
10                   2021-07-30 16:26:33        4.0 /gbaseserver/165/14/gbaseserver.1
11                   2021-07-30 16:26:34        0.0 /gbaseserver/critical_files/ixbar/gbaseserver.1
12                   2021-07-30 16:26:34        0.0 /gbaseserver/critical_files/oncfg/gbaseserver.1
13                   2021-07-30 16:26:34        0.1 /gbaseserver/critical_files/onconfig/gbaseserver.1
14                   2021-07-30 16:26:34        0.0 /gbaseserver/critical_files/sqlhosts/gbaseserver.1
15                   2021-07-30 16:28:44        0.1 /gbaseserver/rootdbs/1/gbaseserver.1
16                   2021-07-30 16:28:45        0.1 /gbaseserver/datadbs1/1/gbaseserver.1
17                   2021-07-30 16:28:45        0.1 /gbaseserver/datadbs3/1/gbaseserver.1
18                   2021-07-30 16:28:45        0.1 /gbaseserver/datadbs4/1/gbaseserver.1
19                   2021-07-30 16:28:46        0.1 /gbaseserver/sbspace1/1/gbaseserver.1
20                   2021-07-30 16:28:46        0.1 /gbaseserver/llogdbs/1/gbaseserver.1
21                   2021-07-30 16:28:46        0.1 /gbaseserver/datadbs2/1/gbaseserver.1
22                   2021-07-30 16:28:46        0.1 /gbaseserver/datadbs5/1/gbaseserver.1
23                   2021-07-30 16:28:46        0.1 /gbaseserver/plogdbs/1/gbaseserver.1
24                   2021-07-30 16:28:48        0.1 /gbaseserver/165/15/gbaseserver.1
25                   2021-07-30 16:28:48        0.0 /gbaseserver/critical_files/ixbar/gbaseserver.2
26                   2021-07-30 16:28:48        0.0 /gbaseserver/critical_files/oncfg/gbaseserver.2
27                   2021-07-30 16:28:48        0.1 /gbaseserver/critical_files/onconfig/gbaseserver.2
28                   2021-07-30 16:28:48        0.0 /gbaseserver/critical_files/sqlhosts/gbaseserver.2
29                   2021-07-30 16:30:17        0.1 /gbaseserver/rootdbs/1/gbaseserver.2
30                   2021-07-30 16:30:18        0.1 /gbaseserver/sbspace1/1/gbaseserver.2
31                   2021-07-30 16:30:19        0.1 /gbaseserver/datadbs2/1/gbaseserver.2
32                   2021-07-30 16:30:19        0.1 /gbaseserver/datadbs4/1/gbaseserver.2
33                   2021-07-30 16:30:19        0.1 /gbaseserver/plogdbs/1/gbaseserver.2
34                   2021-07-30 16:30:19        0.1 /gbaseserver/datadbs3/1/gbaseserver.2
35                   2021-07-30 16:30:19        0.1 /gbaseserver/datadbs5/1/gbaseserver.2
36                   2021-07-30 16:30:19        0.1 /gbaseserver/datadbs1/1/gbaseserver.2
37                   2021-07-30 16:30:20        0.1 /gbaseserver/llogdbs/1/gbaseserver.2
38                   2021-07-30 16:30:21        0.1 /gbaseserver/165/16/gbaseserver.1
39                   2021-07-30 16:30:21        0.0 /gbaseserver/critical_files/ixbar/gbaseserver.3
40                   2021-07-30 16:30:21        0.0 /gbaseserver/critical_files/oncfg/gbaseserver.3
41                   2021-07-30 16:30:21        0.1 /gbaseserver/critical_files/onconfig/gbaseserver.3
42                   2021-07-30 16:30:21        0.0 /gbaseserver/critical_files/sqlhosts/gbaseserver.3
43                   2021-07-30 16:32:07        0.2 /gbaseserver/rootdbs/2/gbaseserver.1
44                   2021-07-30 16:32:08        0.1 /gbaseserver/datadbs1/2/gbaseserver.1
45                   2021-07-30 16:32:09        0.1 /gbaseserver/datadbs2/2/gbaseserver.1
46                   2021-07-30 16:32:09        0.1 /gbaseserver/datadbs4/2/gbaseserver.1
47                   2021-07-30 16:32:09        0.1 /gbaseserver/datadbs5/2/gbaseserver.1
48                   2021-07-30 16:32:09        0.1 /gbaseserver/sbspace1/2/gbaseserver.1
49                   2021-07-30 16:32:09        0.1 /gbaseserver/datadbs3/2/gbaseserver.1
50                   2021-07-30 16:32:09        0.1 /gbaseserver/llogdbs/2/gbaseserver.1
51                   2021-07-30 16:32:10        0.1 /gbaseserver/plogdbs/2/gbaseserver.1
52                   2021-07-30 16:32:10        0.1 /gbaseserver/165/17/gbaseserver.1
53                   2021-07-30 16:32:10        0.0 /gbaseserver/critical_files/ixbar/gbaseserver.4
54                   2021-07-30 16:32:10        0.0 /gbaseserver/critical_files/oncfg/gbaseserver.4
55                   2021-07-30 16:32:10        0.1 /gbaseserver/critical_files/onconfig/gbaseserver.4
56                   2021-07-30 16:32:10        0.0 /gbaseserver/critical_files/sqlhosts/gbaseserver.4
[gbasedbt@devsvr ~]$ 

备份完成后,当前的逻辑日志唯一编号为18

[gbasedbt@devsvr ~]$ onstat -l
Your evaluation license will expire on 2022-07-30 00:00:00
On-Line -- Up 01:57:31 -- 597864 KbytesPhysical Logging
Buffer bufused  bufsize  numpages   numwrits   pages/ioP-1  22       1024     1678       42         39.95phybegin         physize    phypos     phyused    %used   3:53             49700      1899       22         0.04    Logical Logging
Buffer bufused  bufsize  numrecs    numpages   numwrits   recs/pages pages/ioL-1  0        512      82057      6331       396        13.0       16.0    Subsystem    numrecs    Log Space usedOLDRSAM      81903      12130408      HA           49         2156          DDL          105        36540         address          number   flags    uniqid   begin                size     used    %used
4713df88         4        U-B---L  17       2:53                 5000       33     0.66
48309970         5        U---C--  18       2:5053               5000        2     0.04
483099d8         6        U-B----  9        2:10053              5000       34     0.68
48309a40         7        U-B----  10       2:15053              5000       27     0.54
48309aa8         8        U-B----  11       2:20053              5000       41     0.82
48309b10         9        U-B----  12       2:25053              5000       30     0.60
48309b78         10       U-B----  13       2:30053              5000       36     0.72
48309be0         11       U-B----  14       2:35053              5000     2029    40.58
48309c48         12       U-B----  15       2:40053              5000       34     0.68
48309cb0         13       U-B----  16       2:45053              5000       26     0.5210 active, 10 total[gbasedbt@devsvr ~]$ 

t_dept新增1条数据(t11)

> insert into t_dept values(4, 'dept_4');1 row(s) inserted.> select * from t_dept;f_deptid f_deptname           1 dept_1              2 dept_2              3 dept_3              4 dept_4              4 row(s) retrieved.> !date +'%F %T'
2021-07-30 16:34:21
> 

t_employee更新1条数据(t12)

> update t_employee set f_employeename = 'employee_updated' where f_employeeid = 11;1 row(s) updated.> select * from t_employee;f_employeeid    f_deptid f_employeename       1           1 employee_01         2           1 employee_02         3           2 employee_03         4           2 employee_04         5           3 employee_05         11           1 employee_updated    12           1 employee_12         13           2 employee_13         14           2 employee_14         15           3 employee_15         16           3 employee_16         21           1 employee_21         22           1 employee_22         23           2 employee_23         24           2 employee_24         25           3 employee_25         16 row(s) retrieved.> !date +'%F %T'
2021-07-30 16:35:08
> 

切换逻辑日志(t13)

[gbasedbt@devsvr ~]$ onstat -l
Your evaluation license will expire on 2022-07-30 00:00:00
On-Line -- Up 02:00:25 -- 597864 KbytesPhysical Logging
Buffer bufused  bufsize  numpages   numwrits   pages/ioP-1  15       1024     1731       44         39.34phybegin         physize    phypos     phyused    %used   3:53             49700      1952       30         0.06    Logical Logging
Buffer bufused  bufsize  numrecs    numpages   numwrits   recs/pages pages/ioL-2  0        512      82067      6335       400        13.0       15.8    Subsystem    numrecs    Log Space usedOLDRSAM      81912      12130972      HA           50         2200          DDL          105        36540         address          number   flags    uniqid   begin                size     used    %used
4713df88         4        U-B----  17       2:53                 5000       33     0.66
48309970         5        U---C-L  18       2:5053               5000        6     0.12
483099d8         6        U-B----  9        2:10053              5000       34     0.68
48309a40         7        U-B----  10       2:15053              5000       27     0.54
48309aa8         8        U-B----  11       2:20053              5000       41     0.82
48309b10         9        U-B----  12       2:25053              5000       30     0.60
48309b78         10       U-B----  13       2:30053              5000       36     0.72
48309be0         11       U-B----  14       2:35053              5000     2029    40.58
48309c48         12       U-B----  15       2:40053              5000       34     0.68
48309cb0         13       U-B----  16       2:45053              5000       26     0.5210 active, 10 total[gbasedbt@devsvr ~]$ onmode -l
Your evaluation license will expire on 2022-07-30 00:00:00
[gbasedbt@devsvr ~]$ onstat -l
Your evaluation license will expire on 2022-07-30 00:00:00
On-Line -- Up 02:00:33 -- 597864 KbytesPhysical Logging
Buffer bufused  bufsize  numpages   numwrits   pages/ioP-1  15       1024     1731       44         39.34phybegin         physize    phypos     phyused    %used   3:53             49700      1952       30         0.06    Logical Logging
Buffer bufused  bufsize  numrecs    numpages   numwrits   recs/pages pages/ioL-3  0        512      82067      6335       400        13.0       15.8    Subsystem    numrecs    Log Space usedOLDRSAM      81912      12130972      HA           50         2200          DDL          105        36540         address          number   flags    uniqid   begin                size     used    %used
4713df88         4        U-B----  17       2:53                 5000       33     0.66
48309970         5        U-----L  18       2:5053               5000        7     0.14
483099d8         6        U---C--  19       2:10053              5000        0     0.00
48309a40         7        U-B----  10       2:15053              5000       27     0.54
48309aa8         8        U-B----  11       2:20053              5000       41     0.82
48309b10         9        U-B----  12       2:25053              5000       30     0.60
48309b78         10       U-B----  13       2:30053              5000       36     0.72
48309be0         11       U-B----  14       2:35053              5000     2029    40.58
48309c48         12       U-B----  15       2:40053              5000       34     0.68
48309cb0         13       U-B----  16       2:45053              5000       26     0.5210 active, 10 total[gbasedbt@devsvr ~]$ 

切换逻辑日志后,当前逻辑日志唯一编号由18变为19。

t_employee删除1条数据(t14)

> delete from t_employee where f_employeeid = 14;1 row(s) deleted.> select * from t_employee;f_employeeid    f_deptid f_employeename       1           1 employee_01         2           1 employee_02         3           2 employee_03         4           2 employee_04         5           3 employee_05         11           1 employee_updated    12           1 employee_12         13           2 employee_13         15           3 employee_15         16           3 employee_16         21           1 employee_21         22           1 employee_22         23           2 employee_23         24           2 employee_24         25           3 employee_25         15 row(s) retrieved.> !date +'%F %T'
2021-07-30 16:38:10
> 

删除Chunk文件(t15)

[gbasedbt@devsvr ~]$ cd /opt/gbase/gbaseserver_dbs/
[gbasedbt@devsvr gbaseserver_dbs]$ pwd
/opt/gbase/gbaseserver_dbs
[gbasedbt@devsvr gbaseserver_dbs]$ ll
total 1331200
-rw-rw----. 1 gbasedbt gbasedbt 104857600 Jul 30 16:38 datadbs1_1
-rw-rw----. 1 gbasedbt gbasedbt 104857600 Jul 30 14:35 datadbs2_1
-rw-rw----. 1 gbasedbt gbasedbt 104857600 Jul 30 14:35 datadbs3_1
-rw-rw----. 1 gbasedbt gbasedbt 104857600 Jul 30 14:35 datadbs4_1
-rw-rw----. 1 gbasedbt gbasedbt 104857600 Jul 30 14:35 datadbs5_1
-rw-rw----. 1 gbasedbt gbasedbt 104857600 Jul 30 16:38 llogdbs
-rw-rw----. 1 gbasedbt gbasedbt 104857600 Jul 30 16:38 plogdbs
-rw-rw----. 1 gbasedbt gbasedbt 209715200 Jul 30 16:38 rootdbs
-rw-rw----. 1 gbasedbt gbasedbt 104857600 Jul 30 14:35 sbspace1
-rw-rw----. 1 gbasedbt gbasedbt 104857600 Jul 30 16:34 tmpdbs1
-rw-rw----. 1 gbasedbt gbasedbt 104857600 Jul 30 16:34 tmpdbs2
-rw-rw----. 1 gbasedbt gbasedbt 104857600 Jul 30 16:34 tmpdbs3
[gbasedbt@devsvr gbaseserver_dbs]$ rm -rf datadbs1_1
[gbasedbt@devsvr gbaseserver_dbs]$ ll
total 1228800
-rw-rw----. 1 gbasedbt gbasedbt 104857600 Jul 30 14:35 datadbs2_1
-rw-rw----. 1 gbasedbt gbasedbt 104857600 Jul 30 14:35 datadbs3_1
-rw-rw----. 1 gbasedbt gbasedbt 104857600 Jul 30 14:35 datadbs4_1
-rw-rw----. 1 gbasedbt gbasedbt 104857600 Jul 30 14:35 datadbs5_1
-rw-rw----. 1 gbasedbt gbasedbt 104857600 Jul 30 16:38 llogdbs
-rw-rw----. 1 gbasedbt gbasedbt 104857600 Jul 30 16:38 plogdbs
-rw-rw----. 1 gbasedbt gbasedbt 209715200 Jul 30 16:38 rootdbs
-rw-rw----. 1 gbasedbt gbasedbt 104857600 Jul 30 14:35 sbspace1
-rw-rw----. 1 gbasedbt gbasedbt 104857600 Jul 30 16:34 tmpdbs1
-rw-rw----. 1 gbasedbt gbasedbt 104857600 Jul 30 16:34 tmpdbs2
-rw-rw----. 1 gbasedbt gbasedbt 104857600 Jul 30 16:34 tmpdbs3
[gbasedbt@devsvr gbaseserver_dbs]$ 

t_dept新增1条数据(t16)

> insert into t_dept values(5, 'dept_5');1 row(s) inserted.> select * from t_dept;f_deptid f_deptname           1 dept_1              2 dept_2              3 dept_3              4 dept_4              5 dept_5              5 row(s) retrieved.> !date +'%F %T'
2021-07-30 16:40:39
> 

即使在保存数据的Chunk文件被删除,最近的事务仍然可以执行成功。

备份逻辑日志(t17)

[gbasedbt@devsvr ~]$ onbar -b -l
Your evaluation license will expire on 2022-07-30 00:00:00
[gbasedbt@devsvr ~]$ onpsm -O list__PSM__ Object ListObject ID            Date Created         Size (MB) Logical path (name.version)
1                    2021-07-30 16:26:30       15.9 /gbaseserver/rootdbs/0/gbaseserver.1
2                    2021-07-30 16:26:31       18.1 /gbaseserver/datadbs1/0/gbaseserver.1
3                    2021-07-30 16:26:32        0.1 /gbaseserver/plogdbs/0/gbaseserver.1
4                    2021-07-30 16:26:32        0.1 /gbaseserver/datadbs5/0/gbaseserver.1
5                    2021-07-30 16:26:32        0.1 /gbaseserver/datadbs3/0/gbaseserver.1
6                    2021-07-30 16:26:32        0.1 /gbaseserver/datadbs2/0/gbaseserver.1
7                    2021-07-30 16:26:32        0.1 /gbaseserver/sbspace1/0/gbaseserver.1
8                    2021-07-30 16:26:33        0.1 /gbaseserver/llogdbs/0/gbaseserver.1
9                    2021-07-30 16:26:33        0.1 /gbaseserver/datadbs4/0/gbaseserver.1
10                   2021-07-30 16:26:33        4.0 /gbaseserver/165/14/gbaseserver.1
11                   2021-07-30 16:26:34        0.0 /gbaseserver/critical_files/ixbar/gbaseserver.1
12                   2021-07-30 16:26:34        0.0 /gbaseserver/critical_files/oncfg/gbaseserver.1
13                   2021-07-30 16:26:34        0.1 /gbaseserver/critical_files/onconfig/gbaseserver.1
14                   2021-07-30 16:26:34        0.0 /gbaseserver/critical_files/sqlhosts/gbaseserver.1
15                   2021-07-30 16:28:44        0.1 /gbaseserver/rootdbs/1/gbaseserver.1
16                   2021-07-30 16:28:45        0.1 /gbaseserver/datadbs1/1/gbaseserver.1
17                   2021-07-30 16:28:45        0.1 /gbaseserver/datadbs3/1/gbaseserver.1
18                   2021-07-30 16:28:45        0.1 /gbaseserver/datadbs4/1/gbaseserver.1
19                   2021-07-30 16:28:46        0.1 /gbaseserver/sbspace1/1/gbaseserver.1
20                   2021-07-30 16:28:46        0.1 /gbaseserver/llogdbs/1/gbaseserver.1
21                   2021-07-30 16:28:46        0.1 /gbaseserver/datadbs2/1/gbaseserver.1
22                   2021-07-30 16:28:46        0.1 /gbaseserver/datadbs5/1/gbaseserver.1
23                   2021-07-30 16:28:46        0.1 /gbaseserver/plogdbs/1/gbaseserver.1
24                   2021-07-30 16:28:48        0.1 /gbaseserver/165/15/gbaseserver.1
25                   2021-07-30 16:28:48        0.0 /gbaseserver/critical_files/ixbar/gbaseserver.2
26                   2021-07-30 16:28:48        0.0 /gbaseserver/critical_files/oncfg/gbaseserver.2
27                   2021-07-30 16:28:48        0.1 /gbaseserver/critical_files/onconfig/gbaseserver.2
28                   2021-07-30 16:28:48        0.0 /gbaseserver/critical_files/sqlhosts/gbaseserver.2
29                   2021-07-30 16:30:17        0.1 /gbaseserver/rootdbs/1/gbaseserver.2
30                   2021-07-30 16:30:18        0.1 /gbaseserver/sbspace1/1/gbaseserver.2
31                   2021-07-30 16:30:19        0.1 /gbaseserver/datadbs2/1/gbaseserver.2
32                   2021-07-30 16:30:19        0.1 /gbaseserver/datadbs4/1/gbaseserver.2
33                   2021-07-30 16:30:19        0.1 /gbaseserver/plogdbs/1/gbaseserver.2
34                   2021-07-30 16:30:19        0.1 /gbaseserver/datadbs3/1/gbaseserver.2
35                   2021-07-30 16:30:19        0.1 /gbaseserver/datadbs5/1/gbaseserver.2
36                   2021-07-30 16:30:19        0.1 /gbaseserver/datadbs1/1/gbaseserver.2
37                   2021-07-30 16:30:20        0.1 /gbaseserver/llogdbs/1/gbaseserver.2
38                   2021-07-30 16:30:21        0.1 /gbaseserver/165/16/gbaseserver.1
39                   2021-07-30 16:30:21        0.0 /gbaseserver/critical_files/ixbar/gbaseserver.3
40                   2021-07-30 16:30:21        0.0 /gbaseserver/critical_files/oncfg/gbaseserver.3
41                   2021-07-30 16:30:21        0.1 /gbaseserver/critical_files/onconfig/gbaseserver.3
42                   2021-07-30 16:30:21        0.0 /gbaseserver/critical_files/sqlhosts/gbaseserver.3
43                   2021-07-30 16:32:07        0.2 /gbaseserver/rootdbs/2/gbaseserver.1
44                   2021-07-30 16:32:08        0.1 /gbaseserver/datadbs1/2/gbaseserver.1
45                   2021-07-30 16:32:09        0.1 /gbaseserver/datadbs2/2/gbaseserver.1
46                   2021-07-30 16:32:09        0.1 /gbaseserver/datadbs4/2/gbaseserver.1
47                   2021-07-30 16:32:09        0.1 /gbaseserver/datadbs5/2/gbaseserver.1
48                   2021-07-30 16:32:09        0.1 /gbaseserver/sbspace1/2/gbaseserver.1
49                   2021-07-30 16:32:09        0.1 /gbaseserver/datadbs3/2/gbaseserver.1
50                   2021-07-30 16:32:09        0.1 /gbaseserver/llogdbs/2/gbaseserver.1
51                   2021-07-30 16:32:10        0.1 /gbaseserver/plogdbs/2/gbaseserver.1
52                   2021-07-30 16:32:10        0.1 /gbaseserver/165/17/gbaseserver.1
53                   2021-07-30 16:32:10        0.0 /gbaseserver/critical_files/ixbar/gbaseserver.4
54                   2021-07-30 16:32:10        0.0 /gbaseserver/critical_files/oncfg/gbaseserver.4
55                   2021-07-30 16:32:10        0.1 /gbaseserver/critical_files/onconfig/gbaseserver.4
56                   2021-07-30 16:32:10        0.0 /gbaseserver/critical_files/sqlhosts/gbaseserver.4
57                   2021-07-30 16:43:15        0.0 /gbaseserver/165/18/gbaseserver.1
[gbasedbt@devsvr ~]$ 

可以通过下面的命令,查看数据的最新备份情况。

[gbasedbt@devsvr ~]$ onstat -g arc
Your evaluation license will expire on 2022-07-30 00:00:00
On-Line (CKPT INP) -- Up 00:01:24 -- 597864 Kbytes
Blocked:OVERRIDE_DOWN_SPACEnum   DBSpace            Q Size Q Len  Buffer partnum    size     scanner Dbspaces - Archive Status
name               number level date             log        log-position
rootdbs            1      0     07/30/2021.16:26 14         0x7d5018  1     07/30/2021.16:30 16         0x3018    2     07/30/2021.16:32 17         0x8018    
llogdbs            2      0     07/30/2021.16:26 14         0x7d9018  1     07/30/2021.16:30 16         0x7018    2     07/30/2021.16:32 17         0xc018    
plogdbs            3      0     07/30/2021.16:26 14         0x7d9018  1     07/30/2021.16:30 16         0x7018    2     07/30/2021.16:32 17         0xc018    
sbspace1           4      0     07/30/2021.16:26 14         0x7db018  1     07/30/2021.16:30 16         0x7018    2     07/30/2021.16:32 17         0xe018    
datadbs1           8      0     07/30/2021.16:26 14         0x7d9018  1     07/30/2021.16:30 16         0x7018    2     07/30/2021.16:32 17         0xc018    
datadbs2           9      0     07/30/2021.16:26 14         0x7d9018  1     07/30/2021.16:30 16         0x7018    2     07/30/2021.16:32 17         0xc018    
datadbs3           10     0     07/30/2021.16:26 14         0x7d9018  1     07/30/2021.16:30 16         0x7018    2     07/30/2021.16:32 17         0xc018    
datadbs4           11     0     07/30/2021.16:26 14         0x7d9018  1     07/30/2021.16:30 16         0x7018    2     07/30/2021.16:32 17         0xc018    
datadbs5           12     0     07/30/2021.16:26 14         0x7d9018  1     07/30/2021.16:30 16         0x7018    2     07/30/2021.16:32 17         0xc018    [gbasedbt@devsvr ~]$ 

演示完全恢复(t18)

重启数据库,确定被删除的文件

在GBase 8s启动过程中,会因无法打开被删除的文件而报错。

Cannot open chunk '/opt/gbase/gbaseserver_dbs/datadbs1_1

根据报错中的信息,得到被删除的Chunk文件(datadbs1_1)。

[gbasedbt@devsvr ~]$ onmode -ky
Your evaluation license will expire on 2022-07-30 00:00:00
[gbasedbt@devsvr ~]$ oninit -vy
Your evaluation license will expire on 2022-07-30 00:00:00
Reading configuration file '/opt/gbase/etc/onconfig.gbaseserver'...succeeded
Creating /GBASEDBTTMP/.infxdirs...succeeded
Allocating and attaching to shared memory...succeeded
Creating resident pool 36470 kbytes...succeeded
Creating infos file "/opt/gbase/etc/.infos.gbaseserver"...succeeded
Linking conf file "/opt/gbase/etc/.conf.gbaseserver"...succeeded
Initializing rhead structure...rhlock_t 65536 (2048K)... rlock_t (26562K)... Writing to infos file...succeeded
Initialization of Encryption...succeeded
Initializing ASF...succeeded
Initializing Dictionary Cache and SPL Routine Cache...succeeded
Bringing up ADM VP...succeeded
Creating VP classes...succeeded
Forking main_loop thread...succeeded
Initializing DR structures...succeeded
Forking 1 'soctcp' listener threads...succeeded
Starting tracing...succeeded
Initializing 32 flushers...succeeded
Initializing SDS Server network connections...succeeded
Initializing log/checkpoint information...succeeded
Initializing dbspaces...succeeded
Opening primary chunks...oninit: Cannot open chunk '/opt/gbase/gbaseserver_dbs/datadbs1_1'. errno = 2
succeeded
Validating chunks...succeeded
Initialize Async Log Flusher...succeeded
Starting B-tree Scanner...succeeded
Init ReadAhead Daemon...succeeded
Init DB Util Daemon...succeeded
Initializing DBSPACETEMP list...succeeded
Init Auto Tuning Daemon...succeeded
Checking database partition index...succeeded
Initializing dataskip structure...succeeded
Checking for temporary tables to drop...succeeded
Updating Global Row Counter...succeeded
Forking onmode_mon thread...succeeded
Creating periodic thread...succeeded
Creating periodic thread...succeeded
Starting scheduling system...succeeded
Verbose output complete: mode = 5[gbasedbt@devsvr ~]$ onstat -
Your evaluation license will expire on 2022-07-30 00:00:00
On-Line (CKPT INP) -- Up 00:07:37 -- 597864 Kbytes
Blocked:OVERRIDE_DOWN_SPACE[gbasedbt@devsvr ~]$ 
创建被删除的文件,并设置权限。
[gbasedbt@devsvr gbaseserver_dbs]$ pwd
/opt/gbase/gbaseserver_dbs
[gbasedbt@devsvr gbaseserver_dbs]$ ll
total 1228800
-rw-rw----. 1 gbasedbt gbasedbt 104857600 Jul 30 16:46 datadbs2_1
-rw-rw----. 1 gbasedbt gbasedbt 104857600 Jul 30 16:46 datadbs3_1
-rw-rw----. 1 gbasedbt gbasedbt 104857600 Jul 30 16:46 datadbs4_1
-rw-rw----. 1 gbasedbt gbasedbt 104857600 Jul 30 16:46 datadbs5_1
-rw-rw----. 1 gbasedbt gbasedbt 104857600 Jul 30 16:46 llogdbs
-rw-rw----. 1 gbasedbt gbasedbt 104857600 Jul 30 16:46 plogdbs
-rw-rw----. 1 gbasedbt gbasedbt 209715200 Jul 30 16:46 rootdbs
-rw-rw----. 1 gbasedbt gbasedbt 104857600 Jul 30 16:46 sbspace1
-rw-rw----. 1 gbasedbt gbasedbt 104857600 Jul 30 16:46 tmpdbs1
-rw-rw----. 1 gbasedbt gbasedbt 104857600 Jul 30 16:46 tmpdbs2
-rw-rw----. 1 gbasedbt gbasedbt 104857600 Jul 30 16:46 tmpdbs3
[gbasedbt@devsvr gbaseserver_dbs]$ touch datadbs1_1
[gbasedbt@devsvr gbaseserver_dbs]$ ll
total 1228800
-rw-rw-r--. 1 gbasedbt gbasedbt         0 Jul 30 16:52 datadbs1_1
-rw-rw----. 1 gbasedbt gbasedbt 104857600 Jul 30 16:46 datadbs2_1
-rw-rw----. 1 gbasedbt gbasedbt 104857600 Jul 30 16:46 datadbs3_1
-rw-rw----. 1 gbasedbt gbasedbt 104857600 Jul 30 16:46 datadbs4_1
-rw-rw----. 1 gbasedbt gbasedbt 104857600 Jul 30 16:46 datadbs5_1
-rw-rw----. 1 gbasedbt gbasedbt 104857600 Jul 30 16:46 llogdbs
-rw-rw----. 1 gbasedbt gbasedbt 104857600 Jul 30 16:46 plogdbs
-rw-rw----. 1 gbasedbt gbasedbt 209715200 Jul 30 16:46 rootdbs
-rw-rw----. 1 gbasedbt gbasedbt 104857600 Jul 30 16:46 sbspace1
-rw-rw----. 1 gbasedbt gbasedbt 104857600 Jul 30 16:46 tmpdbs1
-rw-rw----. 1 gbasedbt gbasedbt 104857600 Jul 30 16:46 tmpdbs2
-rw-rw----. 1 gbasedbt gbasedbt 104857600 Jul 30 16:46 tmpdbs3
[gbasedbt@devsvr gbaseserver_dbs]$ chmod o-r datadbs1_1
[gbasedbt@devsvr gbaseserver_dbs]$ ll
total 1228800
-rw-rw----. 1 gbasedbt gbasedbt         0 Jul 30 16:52 datadbs1_1
-rw-rw----. 1 gbasedbt gbasedbt 104857600 Jul 30 16:46 datadbs2_1
-rw-rw----. 1 gbasedbt gbasedbt 104857600 Jul 30 16:46 datadbs3_1
-rw-rw----. 1 gbasedbt gbasedbt 104857600 Jul 30 16:46 datadbs4_1
-rw-rw----. 1 gbasedbt gbasedbt 104857600 Jul 30 16:46 datadbs5_1
-rw-rw----. 1 gbasedbt gbasedbt 104857600 Jul 30 16:46 llogdbs
-rw-rw----. 1 gbasedbt gbasedbt 104857600 Jul 30 16:46 plogdbs
-rw-rw----. 1 gbasedbt gbasedbt 209715200 Jul 30 16:46 rootdbs
-rw-rw----. 1 gbasedbt gbasedbt 104857600 Jul 30 16:46 sbspace1
-rw-rw----. 1 gbasedbt gbasedbt 104857600 Jul 30 16:46 tmpdbs1
-rw-rw----. 1 gbasedbt gbasedbt 104857600 Jul 30 16:46 tmpdbs2
-rw-rw----. 1 gbasedbt gbasedbt 104857600 Jul 30 16:46 tmpdbs3
[gbasedbt@devsvr gbaseserver_dbs]$ 
完全恢复
[gbasedbt@devsvr ~]$ onstat -
Your evaluation license will expire on 2022-07-30 00:00:00
shared memory not initialized for GBASEDBTSERVER 'gbaseserver'
[gbasedbt@devsvr ~]$ onbar -r
Your evaluation license will expire on 2022-07-30 00:00:00
Your evaluation license will expire on 2022-07-30 00:00:00
[gbasedbt@devsvr ~]$ onstat -
Your evaluation license will expire on 2022-07-30 00:00:00
Quiescent -- Up 00:00:35 -- 1135464 Kbytes[gbasedbt@devsvr ~]$ onmode -m
Your evaluation license will expire on 2022-07-30 00:00:00
[gbasedbt@devsvr ~]$ dbaccess - -
Your evaluation license will expire on 2022-07-30 00:00:00
> database mydb;Database selected.> select * from t_employee;f_employeeid    f_deptid f_employeename       1           1 employee_01         2           1 employee_02         3           2 employee_03         4           2 employee_04         5           3 employee_05         11           1 employee_updated    12           1 employee_12         13           2 employee_13         15           3 employee_15         16           3 employee_16         21           1 employee_21         22           1 employee_22         23           2 employee_23         24           2 employee_24         25           3 employee_25         15 row(s) retrieved.> select * from t_dept;f_deptid f_deptname           1 dept_1              2 dept_2              3 dept_3              4 dept_4              5 dept_5              5 row(s) retrieved.> 

即使数据库空间的Chunk文件被删除,只要有备份,依然可以完全恢复,不丢失数据。

t_employee新增5条数据(19)

> select * from t_employee;f_employeeid    f_deptid f_employeename       1           1 employee_01         2           1 employee_02         3           2 employee_03         4           2 employee_04         5           3 employee_05         11           1 employee_updated    12           1 employee_12         13           2 employee_13         101           1 employee_101        15           3 employee_15         16           3 employee_16         21           1 employee_21         22           1 employee_22         23           2 employee_23         24           2 employee_24         25           3 employee_25         102           1 employee_102        103           2 employee_103        104           2 employee_104        105           3 employee_105        20 row(s) retrieved.> !date +'%F %T'
2021-07-30 17:05:54
> 

删除t_employee表(20)

为了演示方便,在删除表之前,记录一个时间,用于后续的不完全恢复时间点。

> !date +'%F %T'
2021-07-30 17:06:45
> drop table t_employee;Table dropped.> select * from t_employee;206: The specified table (t_employee) is not in the database.111: ISAM error:  no record found.
Error in line 1
Near character position 24
> info tables;Table namet_dept             > 

基于时间点的不完全恢复(t21)

根据上面测试时记录的时间点,进行不完全恢复。

[gbasedbt@devsvr ~]$ onstat -
Your evaluation license will expire on 2022-07-30 00:00:00
shared memory not initialized for GBASEDBTSERVER 'gbaseserver'
[gbasedbt@devsvr ~]$ export GL_DATETIME="%iY-%m-%d %H:%M:%S"
[gbasedbt@devsvr ~]$ echo $GL_DATETIME
%iY-%m-%d %H:%M:%S
[gbasedbt@devsvr ~]$ onbar -r -t '2021-07-30 17:06:45'
Your evaluation license will expire on 2022-07-30 00:00:00
Your evaluation license will expire on 2022-07-30 00:00:00
Your evaluation license will expire on 2022-07-30 00:00:00
[gbasedbt@devsvr ~]$ onmode -m
Your evaluation license will expire on 2022-07-30 00:00:00

查看恢复结果。

[gbasedbt@devsvr ~]$ echo "select * from t_employee" | dbaccess mydb
Your evaluation license will expire on 2022-07-30 00:00:00Database selected.f_employeeid    f_deptid f_employeename       1           1 employee_01         2           1 employee_02         3           2 employee_03         4           2 employee_04         5           3 employee_05         11           1 employee_updated    12           1 employee_12         13           2 employee_13         101           1 employee_101        15           3 employee_15         16           3 employee_16         21           1 employee_21         22           1 employee_22         23           2 employee_23         24           2 employee_24         25           3 employee_25         102           1 employee_102        103           2 employee_103        104           2 employee_104        105           3 employee_105        20 row(s) retrieved.Database closed.[gbasedbt@devsvr ~]$ echo "select * from t_dept" | dbaccess mydb
Your evaluation license will expire on 2022-07-30 00:00:00Database selected.f_deptid f_deptname           1 dept_1              2 dept_2              3 dept_3              4 dept_4              5 dept_5              5 row(s) retrieved.Database closed.[gbasedbt@devsvr ~]$ 

即使因为误操作删除了整个表,也依然可以通过不完全恢复,找回被删除的数据。

附录

数据库与表(t1)

create database mydb in datadbs1 with log;
create table t_dept(f_deptid int, f_deptname varchar(20));
create table t_employee(f_employeeid int, f_deptid int, f_employeename varchar(20));

数据(t2)

insert into t_dept values(1, 'dept_1');
insert into t_dept values(2, 'dept_2');
insert into t_dept values(3, 'dept_3');

数据(t3)

insert into t_employee values(1, 1, 'employee_01');
insert into t_employee values(2, 1, 'employee_02');
insert into t_employee values(3, 2, 'employee_03');
insert into t_employee values(4, 2, 'employee_04');
insert into t_employee values(5, 3, 'employee_05');

数据(t5)

insert into t_employee values(11, 1, 'employee_11');
insert into t_employee values(12, 1, 'employee_12');
insert into t_employee values(13, 2, 'employee_13');
insert into t_employee values(14, 2, 'employee_14');
insert into t_employee values(15, 3, 'employee_15');

数据(t7)

insert into t_employee values(16, 3, 'employee_16');

数据(t9)

insert into t_employee values(21, 1, 'employee_21');
insert into t_employee values(22, 1, 'employee_22');
insert into t_employee values(23, 2, 'employee_23');
insert into t_employee values(24, 2, 'employee_24');
insert into t_employee values(25, 3, 'employee_25');

数据(t11)

insert into t_dept values(4, 'dept_4');

数据(t12)

update t_employee set f_employeename = 'employee_updated' where f_employeeid = 11;

数据(t14)

delete from t_employee where f_employeeid = 14;

数据(t15)

drop table t_employee;

数据(t16)

insert into t_dept values(5, 'dept_5');

数据(t19)

insert into t_employee values(101, 1, 'employee_101');
insert into t_employee values(102, 1, 'employee_102');
insert into t_employee values(103, 2, 'employee_103');
insert into t_employee values(104, 2, 'employee_104');
insert into t_employee values(105, 3, 'employee_105');

数据(t20)

drop table t_employee;

版权声明:

本网仅为发布的内容提供存储空间,不对发表、转载的内容提供任何形式的保证。凡本网注明“来源:XXX网络”的作品,均转载自其它媒体,著作权归作者所有,商业转载请联系作者获得授权,非商业转载请注明出处。

我们尊重并感谢每一位作者,均已注明文章来源和作者。如因作品内容、版权或其它问题,请及时与我们联系,联系邮箱:809451989@qq.com,投稿邮箱:809451989@qq.com

热搜词